يبدو أن مايكروسوفت تعمل بدورها على إطلاق هواتف ذكية قابلة للطي سيرا على خطى شركات أخرى كهواوي وسامسونغ وغيرها، وهو الأمر الذي كشفته صور لبراءة اختراع جديدة انتشرت على مواقع التواصل الاجتماعي والمواقع المتخصصة خلال الأيام الماضية.
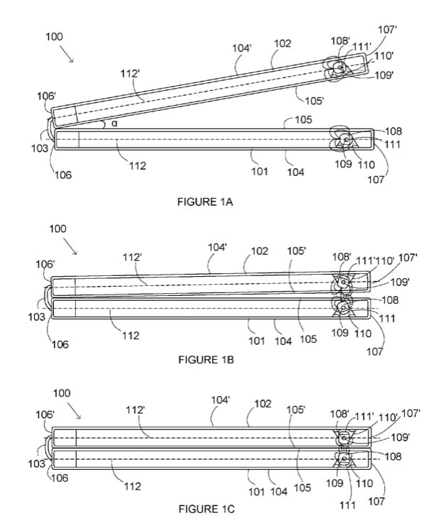
ورغم أن التقارير التي تشير إلى أن مايكروسوفت تطور هاتف ذكي قابل للطي ويتحول بعد فرده إلى جهاز تابليت إذ أنه مكون من شاشتين بمحور مغناطيسي، إلا أننا أصبحنا أمام صور جديدة لبراءة الاختراع التي تكشف طريقة عمل هذا الجهاز الجديد.
from موضوع جديد لك http://ift.tt/2ETwyZV
via IFTTT



ليست هناك تعليقات:
إرسال تعليق